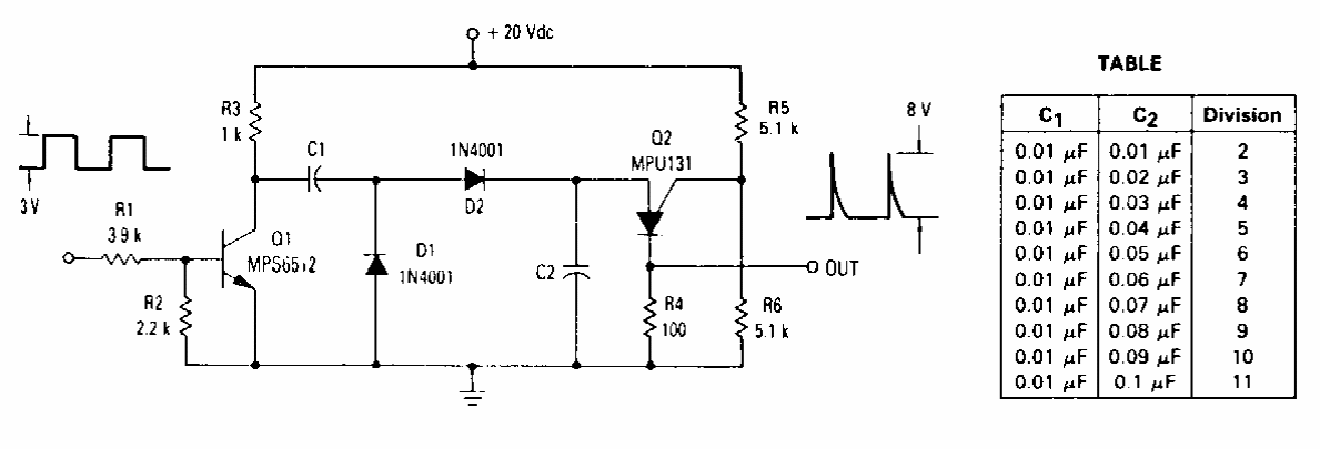
This circuit was suggested by Motorola in a 1980s publication. It is based on a PUT that is not a common component today. The division depends on the capacitor values according to the table.
This circuit is from a 1954 transistors publication. The transistors are the CK722 among the first...
This sophisticated circuit of the coin-toss game was found in an American 1980s documentation. The circuit...
This windshield wiper interval was found in an old documentation. The SCR can be the C106 and the...