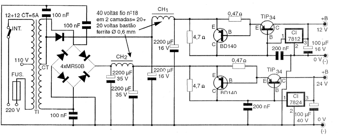
This power supply provides 12 and 24 V voltages for experimental FM stations. The total current reaches 5 A. The voltage regulator integrated circuits and the power transistors must be mounted on good heat sinks. The diodes are for 4 A with 50 V of reverse voltage and the 12 + 12 V transformer with 5 A. The circuit is from 1997 documentation.




