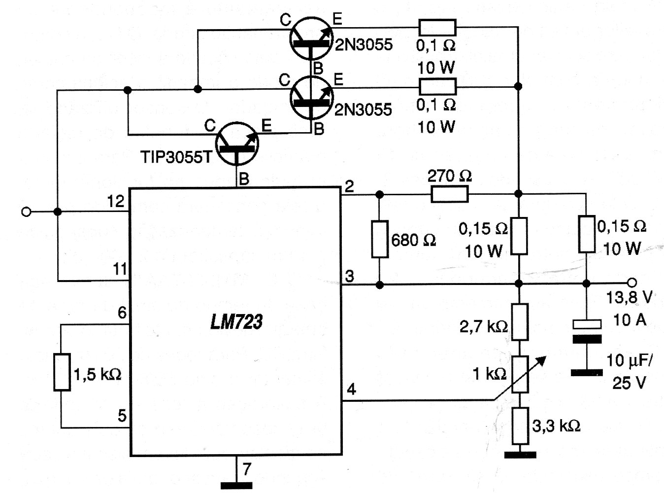
It is a 13.8 V x 10 A regulator obtained in a 2008 documentation. The 2N3055 transistors must be mounted in excellent heat sinks and the voltage is adjusted in the trimpot.
This circuit was found in a 90s Silicon Chip documentation. The current of the transformer is 1 A maximum,...
The output of this circuit using the NE5560 has the opposite polarity of the input voltage. The...
Found in an Electronic Design from the 90s, this sophisticated continuity tester uses operational...