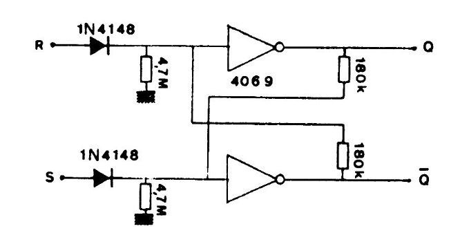
In the figure we have the way to control a flip-flop with the 4069 from positive pulses. The circuit can be used as a shield, if powered by 5 V.
We found this two stage transistor amplifier circuit using RC coupling in a magazine published in...
The frequency of this unijunction oscillator is determined by the crystal whose maximum frequency is...
This circuit was obtained from the April 1978 Radio Electronics magazine. The other circuit is a...