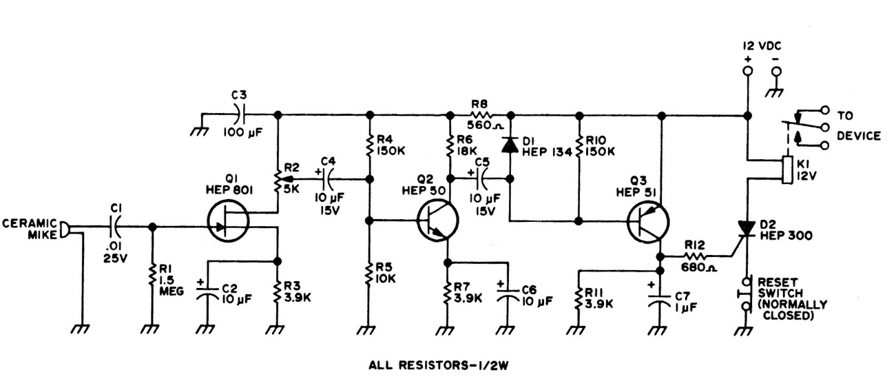
This Vox or sound activated relay was found in an American documentation from 1975. Equivalent transistors can be used, and the SCR can be a TIC106. The relay is according to the supply voltage.
Emitt This crystal-controlled oscillator can generate signals from 100 kHz to over 30MHz. The...
This circuit was found in documentation from the 90s. The components used are not common today. The...
This circuit was obtained in the National Semiconductor Linear Applications Handbook of 1994. The...