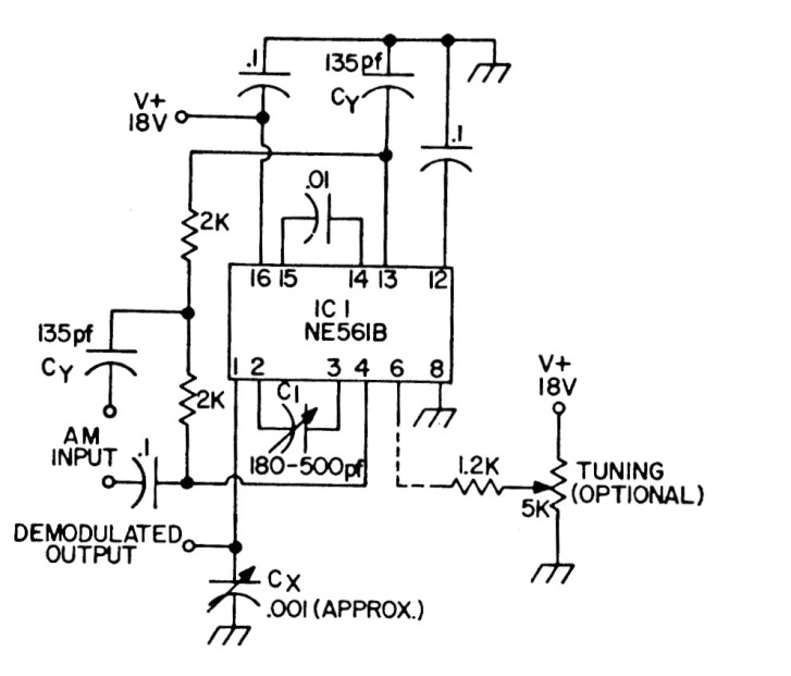
With this circuit it is possible to tune an AM signal using a 5k potentiometer (4k7). The circuit was found in a publication from the 1980s and the PLL can be replaced by an equivalent one, with tests.
This circuit with transistors and low current was found in American documentation from the 1980s....
This circuit was found in an American publication from 1965. The circuit uses components from that...
Originally, this 2000 documentation circuit was created to operate as a sensor for the parallel...