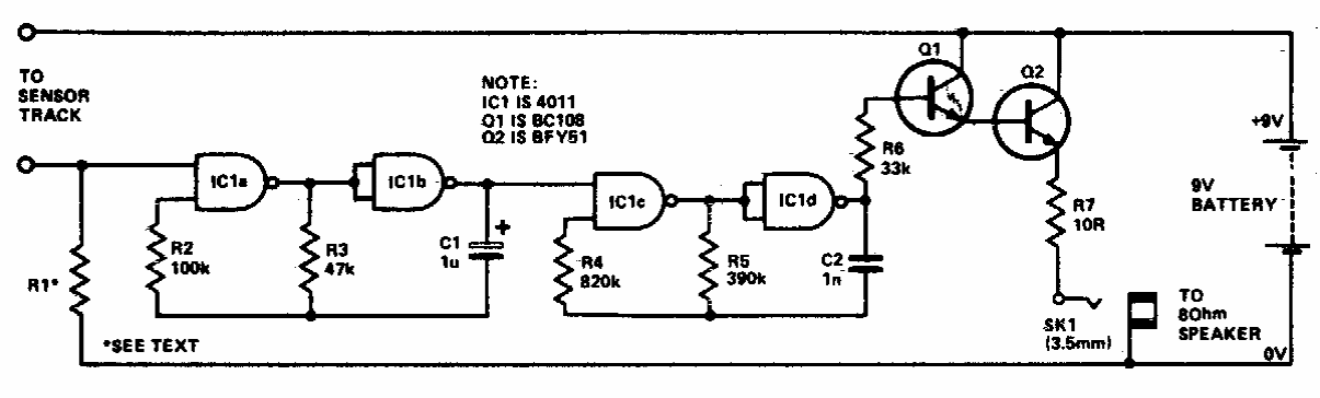
This simple rain, leak or moisture detector circuit appears in other places on this site with slight variations. This was obtained in an English documentation from the 70s.
Published in the September 1973 issue of Radio Electronics magazine, this diagram may be useful to...
This shield circuit is from old documentation. The operational amplifier used is not common today...
This circuit was found in Ferranti's 1974 transistor manual. The circuit source a sawtooth signal to...