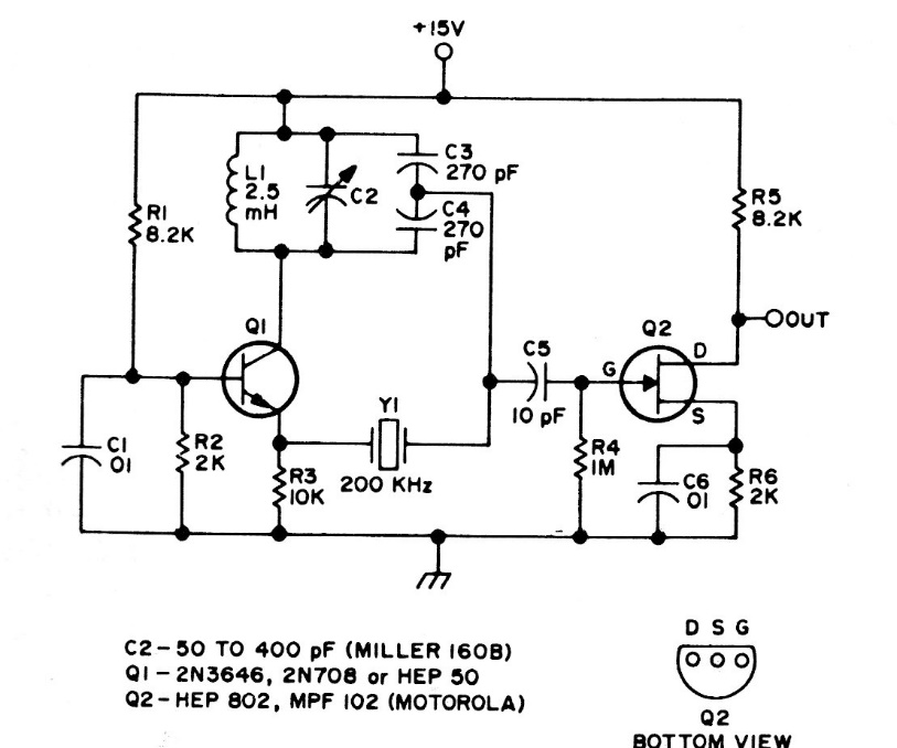
This circuit is from old documentation, but it can be implemented with modern transistors such as 2N2222 for bipolar and BF124 for FET. The crystal determines the operating frequency.
The 78XX series voltage regulator integrated circuits do not support an input voltage greater than...
This is the complete circuit of a multimeter using a 50 uA instrument with a 2k coil. The circuit...
This circuit came out in a Popular Electronics from December 1995. It is a double T configuration that...