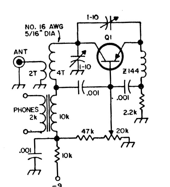
This simple super-regenerative receiver was found in American documentation from the 1980s. The transistor can be the BF494 or equivalent and the coils depend on the frequency you want to receive. The signal is applied to headphones or to an amplification stage.




