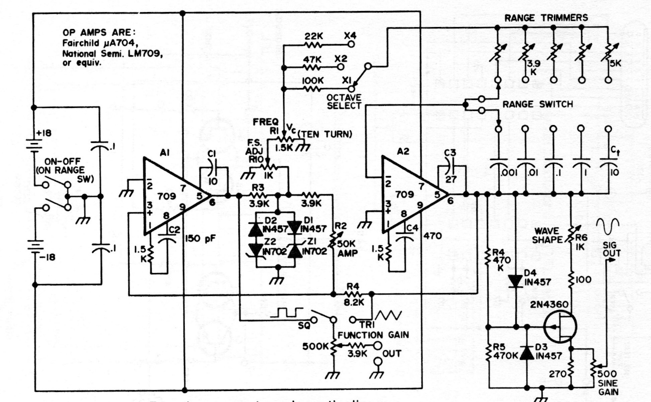
The 709 integrated circuit is not common today. The circuit is from American technical documentation from the 1980s. The power supply must be symmetrical. The circuit has 5 frequency bands producing three different waveforms.
The 709 integrated circuit is not common today. The circuit is from American technical documentation from the 1980s. The power supply must be symmetrical. The circuit has 5 frequency bands producing three different waveforms.