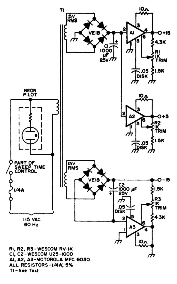
This low current source uses some components that are hard to find in ours. The transformer is a special type with two secondary windings. The diodes can be common rectifiers such as 1N4004.
This low current source uses some components that are hard to find in ours. The transformer is a special type with two secondary windings. The diodes can be common rectifiers such as 1N4004.