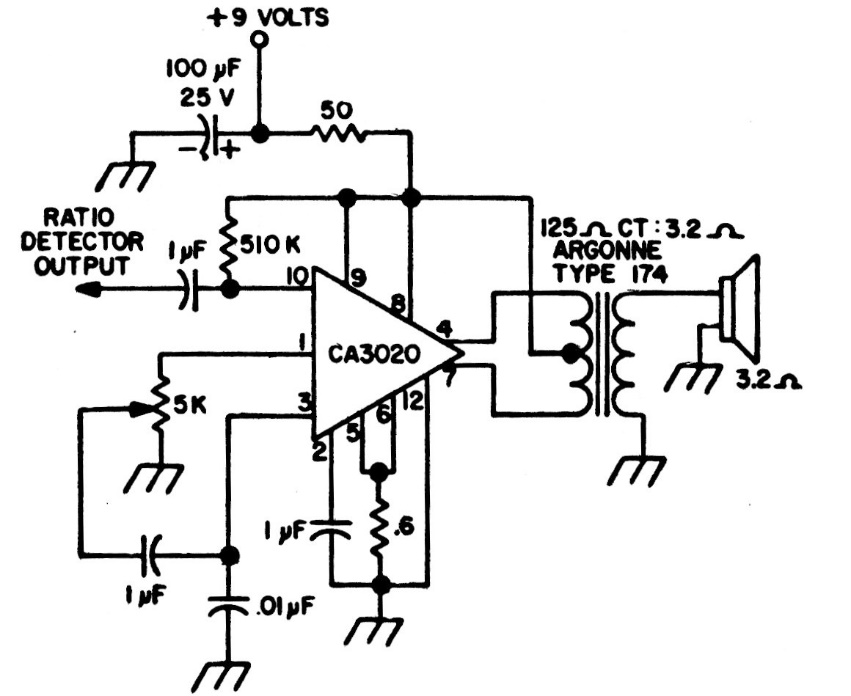
This small audio amplifier uses an uncommon integrated circuit today. The circuit is from a documentation from the 70s and is indicated for portable receivers of the time.
We found these circuits in a Popular Electronics from the 90s. The circuit has a simple low power...
This LED diode test is suggested by the Texas Instruments optoelectronics manual. The transformer current...
This RF monitor or field strength meter can use instruments from 100 uA to 1 mA full scale. The...