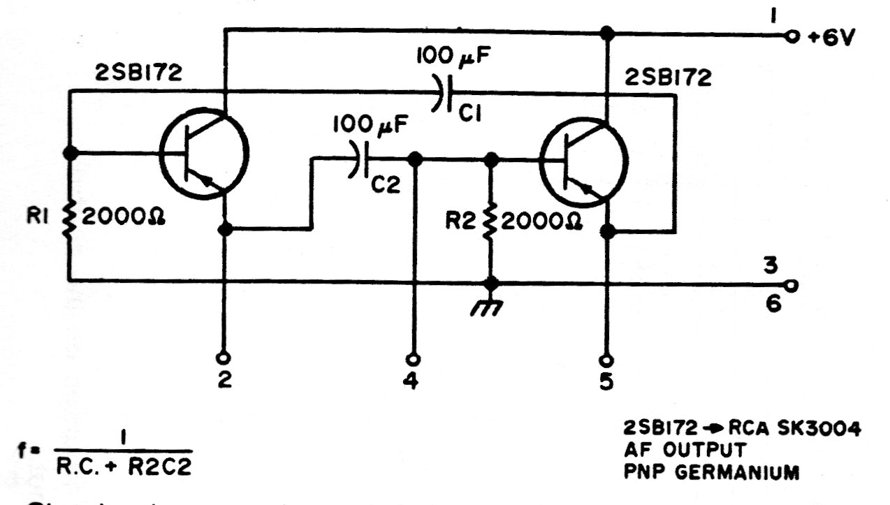
We found this circuit in a publication from the 1980s. Transistors can be replaced by current equivalents. The circuit is for 6 V and the capacitors determine the frequency of the oscillations.
This circuit was taken from a Popular Electronics from the 1990s. The circuit triggers a relay that...
The transformer inf this circuit is a 6 or 9 V unit and diodes 1N4002. The filter capacitor is 2...
This circuit causes a relay to oscillate generating a signal that turns into high voltage in a...