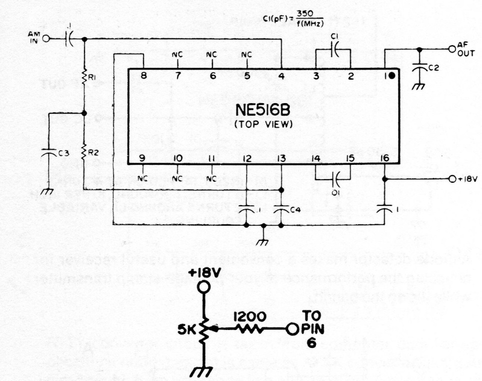
This circuit that uses potentiometer tuning, was found in a documentation from the 80's. The integrated circuit used is from that time and is a not common today.
This is the traditional configuration of a 6 or 12 V source with 7806 or 7812 integrated circuits, for a...
This fader or guitar fading circuit was found in an American documentation from the 1980s. The...
Found in documentation from the 1960s, this power supply employs germanium diodes from the time....