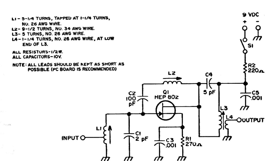
This amplifier for signals in the 2 m range that corresponds to 150 MHz was found in an American documentation from the 1980s. The FET can be a BF245.
We found these circuits in a Popular Electronics from the 90s. The circuit has a simple low power...
This LED diode test is suggested by the Texas Instruments optoelectronics manual. The transformer current...
This RF monitor or field strength meter can use instruments from 100 uA to 1 mA full scale. The...