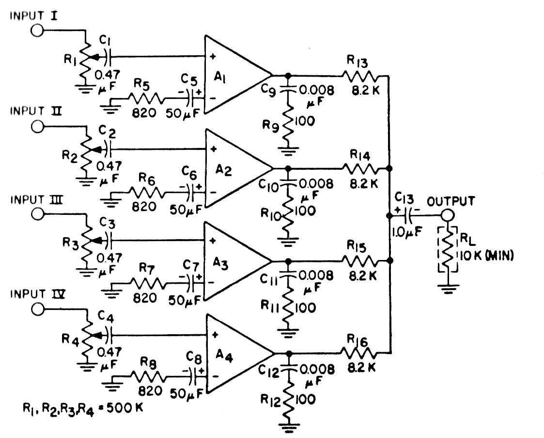
This circuit uses a quadruple operational amplifier of the time. The circuit is from the 70s but can be implemented with modern operators that require the use of a symmetrical source.
Texas Instruments PCM5242 Audio Stereo Differential-Output DAC is a monolithic CMOS integrated...
Emitt This crystal-controlled oscillator can generate signals from 100 kHz to over 30MHz. The...
With this circuit it is possible to fire an SCR from the light that falls on a phototransistor. The circuit...