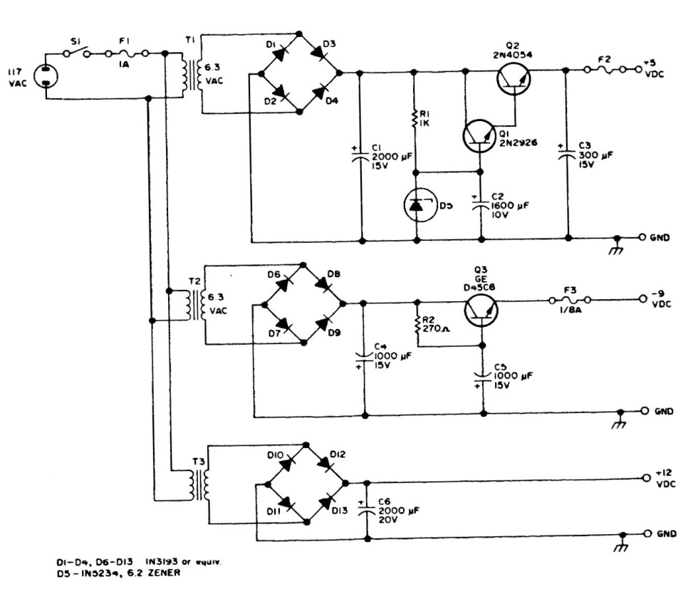
This triple power source suggestion for the bench was found in an American documentation from the 80s. The transistors admit power equivalents and the rectifier diodes can be 1N4002 for currents up to 1 A. The transformers have secondary according to the output voltages.




