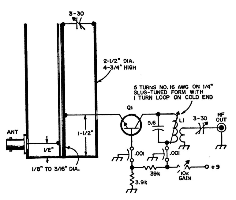
This circuit, very critical due to the frequency at which it operates, was found in an American documentation that uses a resonant cavity in a beer can. The transistor can be of any type for RF.
This high-gain digital amplifier uses general-purpose transistors. The supply voltage is logic...
We found this circuit in the March 1993 issue of Electronis Now magazine. The circuit uses common...
Using an LDR as a sensor and an operational amplifier this circuit was found in the Encyclopedia of...