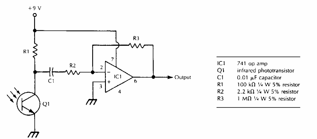
Found in American documentation from the 1990s, this circuit receives modulated infrared signals. The baud rate depends on the operative used. The main application is like audio link.
Texas Instruments PCM5242 Audio Stereo Differential-Output DAC is a monolithic CMOS integrated...
Emitt This crystal-controlled oscillator can generate signals from 100 kHz to over 30MHz. The...
With this circuit it is possible to fire an SCR from the light that falls on a phototransistor. The circuit...