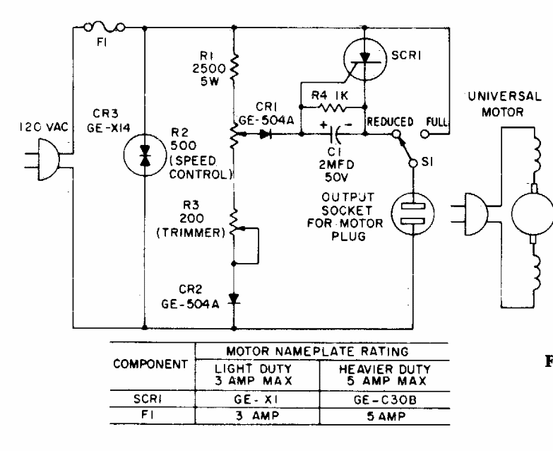
This plug-in control was found in General Electric documentation from the 1970s. The SCR can be the TIC106 mounted on a heatsink. The circuit can be changed to the 220 V network.
This circuit, in addition to providing an output that corresponds to the absolute value of the...
Found in American documentation, this circuit uses an automotive ignition coil to generate 20 kV. The...
This power supply was found in a 2000 documentation. It can supply currents from 2 A to 15 V and 1...