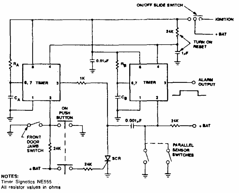
This car alarm was obtained in a Signetics documentation from the 1980s. The circuit uses the 555 and has a pulsed output to activate a relay that controls the horn. The sensors are parallel connected.
Texas Instruments PCM5242 Audio Stereo Differential-Output DAC is a monolithic CMOS integrated...
Emitt This crystal-controlled oscillator can generate signals from 100 kHz to over 30MHz. The...
With this circuit it is possible to fire an SCR from the light that falls on a phototransistor. The circuit...