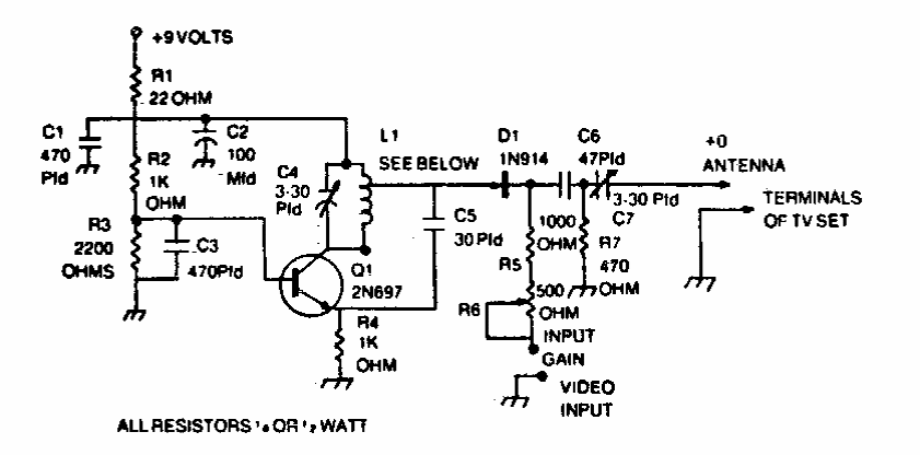
This circuit was found in documentation from the 1970s. The transistor supports modern equivalents. L1 with C4 determines the frequency range of the signals that will be produced.
We found this crystal AM radio using a germanium diode in a Japanese magazine in 1967. The circuit...
This simple unregulated power supply was taken from a December 1970 Radio Electronics magazine. The...
We found this circuit in a Motorola manual. The circuit has the capacitor charging at 15 to 30 V,...