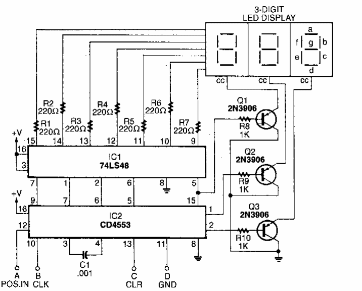
This circuit was found in an Electronics Now from the 80's. The circuit is designed for 3-digit displays. The circuit is TTL.
Found in EEE documentation, this circuit can have the duration and frequency adjusted separately....
August 2016 - Mouser Electronics is providing the ew converters step down LM53625-Q1 and...
The circuit is from a 1966 English magazine, but it can be assembled with more modern transistors such as...