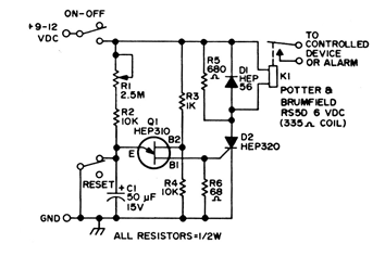
The timing of this timer found in American documentation depends on capacitor C1. This component can be increased to obtain longer timings. The circuit has a lock due to the use of the relay which can be of the sensitive type of 12 V.

The timing of this timer found in American documentation depends on capacitor C1. This component can be increased to obtain longer timings. The circuit has a lock due to the use of the relay which can be of the sensitive type of 12 V.
