This telegraph monitor was found in an American documentation for radio amateurs from the 1970s. The indicator is a common 1 mA full-scale milliammeter.
We found these circuits in a Popular Electronics from the 90s. The circuit has a simple low power...
This LED diode test is suggested by the Texas Instruments optoelectronics manual. The transformer current...
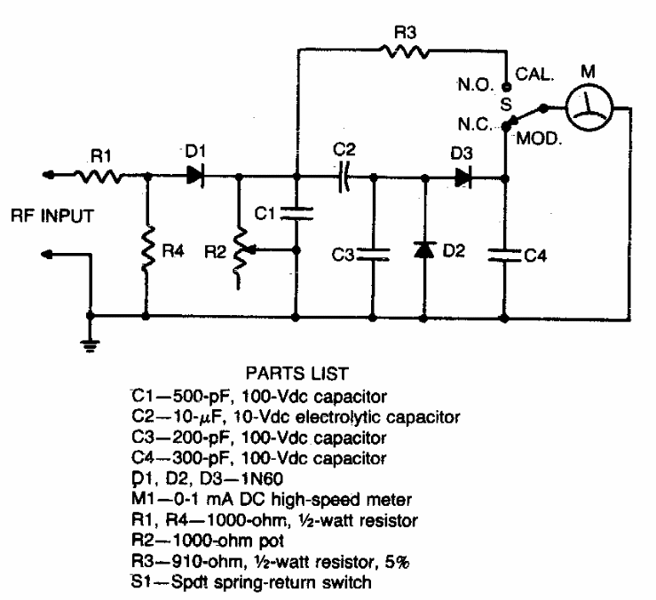
This RF monitor or field strength meter can use instruments from 100 uA to 1 mA full scale. The...