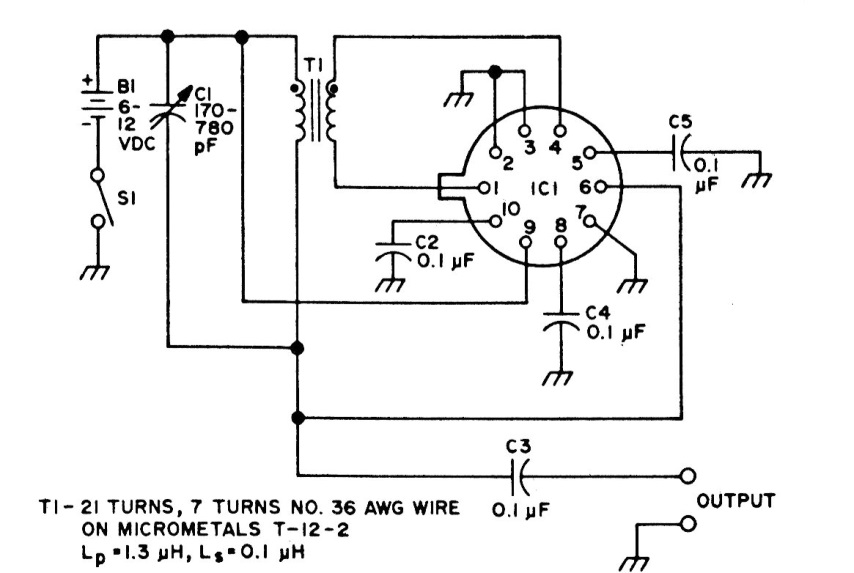
This variable frequency oscillator (VFO or OFV) was obtained in an old Motorola documentation. The integrated circuit is no longer manufactured, but the circuit serves as a reference for equipment recovery and even for creating projects with more modern components. The CI is HMA36.




