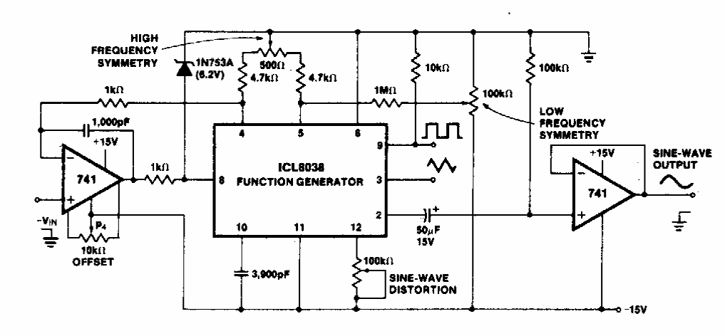
This circuit was obtained in an old documentation. The 8038 integrated circuit is not a common component today.
This circuit was found in an American documentation from 1969. It serves to trigger circuits by...
This input stage has unit gain but a high input impedance and low output impedance. The circuit is...
The circuit presented was found in the Linear Applications Handbook of the National Semiconductor of 1994....