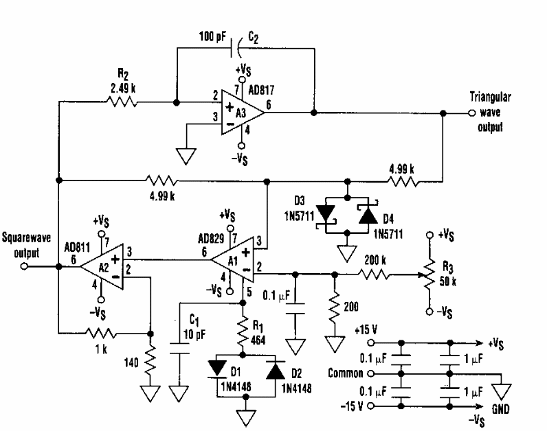
This circuit was found in ancient American documentation. It makes use of the operational amplifiers of the time, but it can be implemented with modern equivalents.
Found in a 90’s Popular Electronics, this circuit can use other power MOSFETs. The transformer has a...
This fourth-order filter was obtained in a 1977 technical documentation and can be implemented with other...
This sequential beacon was found in an 80's Radio Electronics. The circuit can be designed using modern...