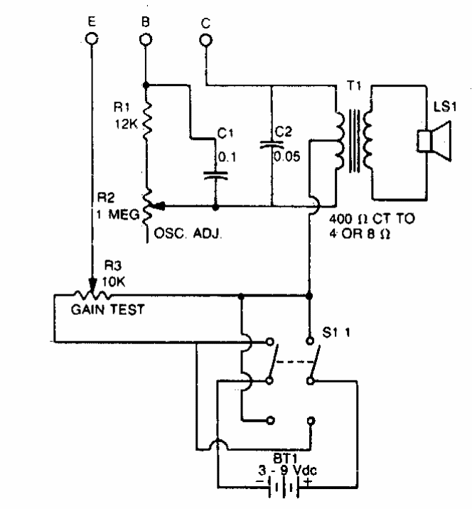
With this circuit it is possible to make the selection of transistors and their test according to the gain. The circuit consists of an oscillator. The transformer is the type found on old transistor radios.
With this circuit it is possible to make the selection of transistors and their test according to the gain. The circuit consists of an oscillator. The transformer is the type found on old transistor radios.