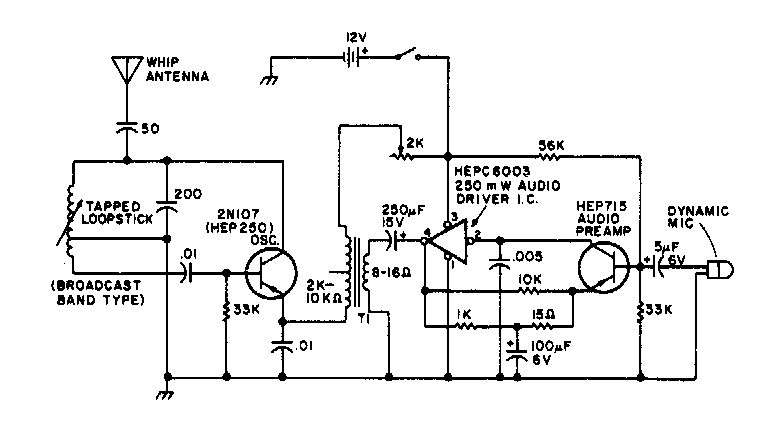
This small transmitter operates in the medium wave range. T1 is an output transformer for transistor radios. The operational admits a modern equivalent. The circuit is from the 80's documentation.
This small transmitter operates in the medium wave range. T1 is an output transformer for transistor radios. The operational admits a modern equivalent. The circuit is from the 80's documentation.