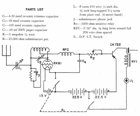
The frequency depends on the coil and is not found in the original documentation but should be around 40 MHz for the number of turns of the coil. The circuit is from a Raytheon manual from the 1960s.

The frequency depends on the coil and is not found in the original documentation but should be around 40 MHz for the number of turns of the coil. The circuit is from a Raytheon manual from the 1960s.
