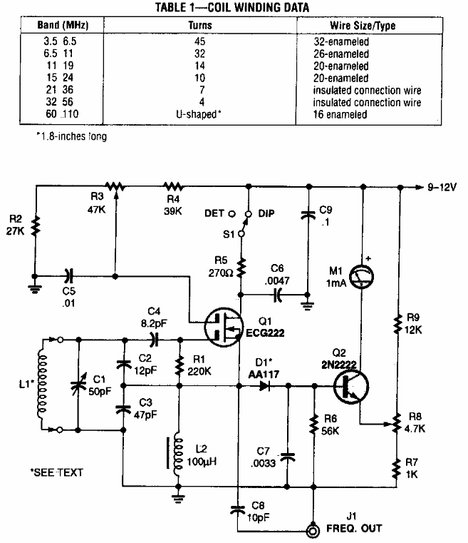
This circuit was found in a Popular Electronics from the 90's. It consists of the solid-state variation of the well-known grid-dip meter. MOSFET is a component not very easy to obtain these days.
The 78XX series voltage regulator integrated circuits do not support an input voltage greater than...
This is the complete circuit of a multimeter using a 50 uA instrument with a 2k coil. The circuit...
This circuit came out in a Popular Electronics from December 1995. It is a double T configuration that...