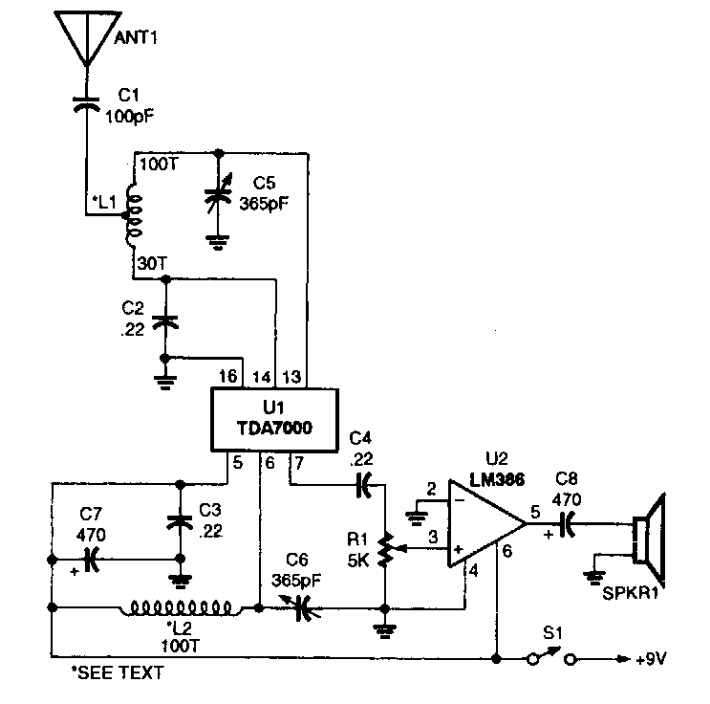
This simple radio was found in a Popular Electronics from the 90s. L1 and L2 have 100 turns on a toroidal core and L1 have a socket on the thirtieth turn.
The 78XX series voltage regulator integrated circuits do not support an input voltage greater than...
This is the complete circuit of a multimeter using a 50 uA instrument with a 2k coil. The circuit...
This circuit came out in a Popular Electronics from December 1995. It is a double T configuration that...