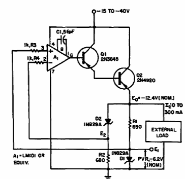
Found in a 1969 Electronic Design, this circuit is intended to power a load up to 300 mA. Transistors are from the time and the operational admits a modern equivalent.

Found in a 1969 Electronic Design, this circuit is intended to power a load up to 300 mA. Transistors are from the time and the operational admits a modern equivalent.
