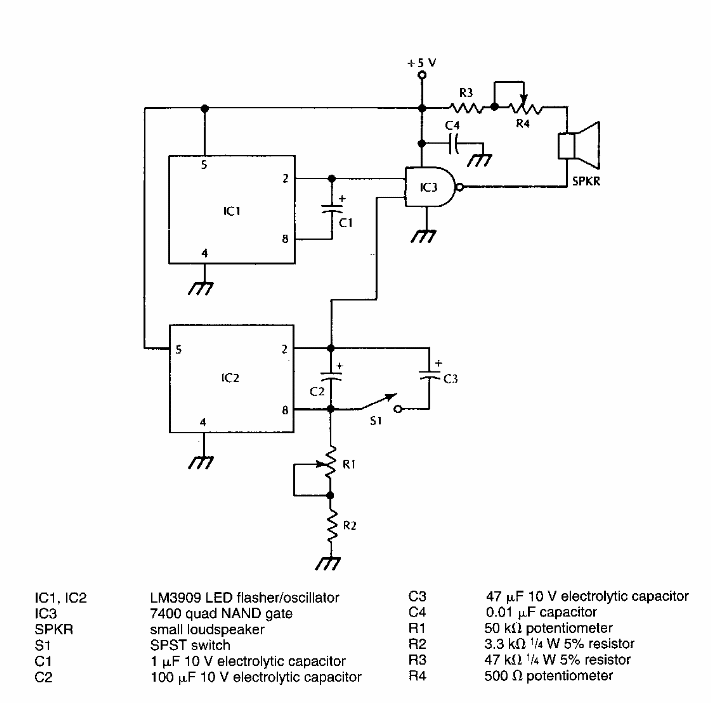
We found this circuit in an American documentation from the 1990s. The circuit is based on the LM3909, a low power oscillator from National Semiconductor.
The circuit shown is from an old European publication. In it we have the way to activate a relay...
We found this circuit in a European publication from the 1990s. Transistors are still common types...
This circuit was found in an American documentation and can be added to common amplifiers of any...