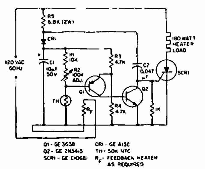
The purpose of this circuit found in a 1967 GE SCR manual is to control a heating element. The SCR must have current according to the controlled load.
This sound effect circuit was obtained from an article in the April 1969 issue of Radio...
Found in a 1990 Electronics Handbook, this circuit causes an LED to flash when the phototransistor receives...
Found in the May 1997 issue of Electronics Now, this circuit produces a variety of sound effects for...