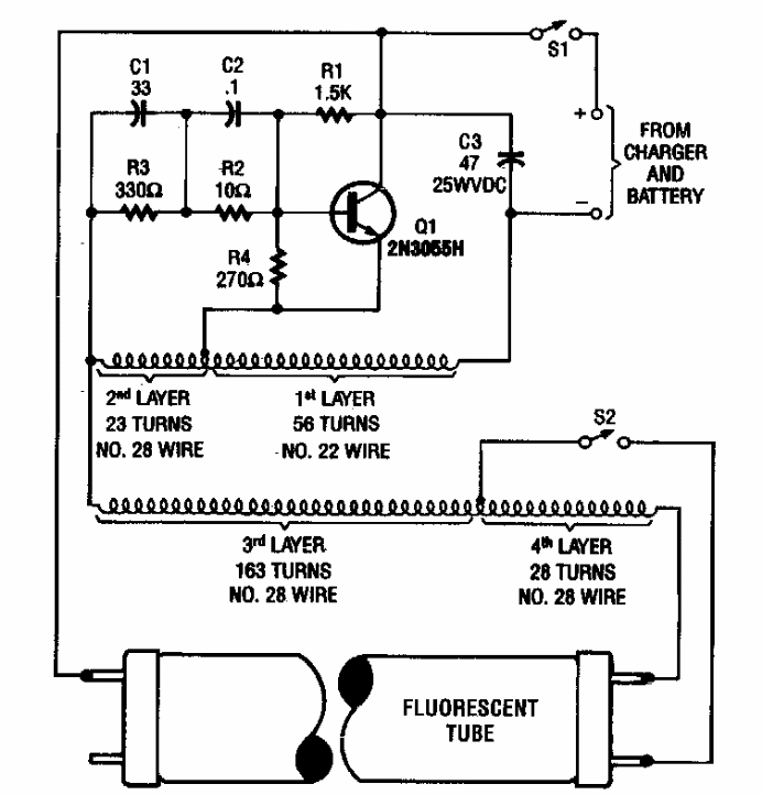
This circuit, with a 12 V input, was found in a Popular Electronics from the 1990s. Information is given about the ferrite-wrapped transformer. The transistor must be mounted on a heatsink.
We found this chopper circuit in a 1967 publication. The transistors are of the time, and current...
The TTL circuit shown in the figure generates a 1 MHz rectangular signal depending on the 20-200 pF...
The components of this filter are calculated using conventional formulas (see mathematics section of...