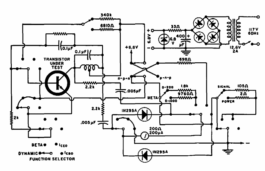
We found this circuit in a 1967 Electronics World. It analyzes a transistor by determining its type.
This circuit uses the LM2931 which is not a common component today. What it does is to activate a lamp...
This circuit doubles the frequency of signals from 10 to 50 MHz. We found it in a 1969 Electronic...
This circuit is from an old Japanese magazine from 1960. The circuit uses germanium transistors from the...