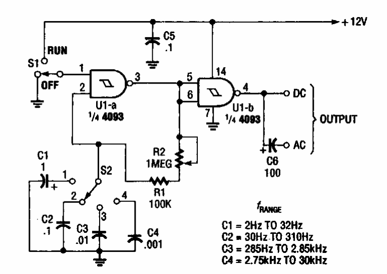
This circuit was found in a Popular Electronics from the 90s. The circuit has 4 frequency ranges selected according to the capacitors. Signal is rectangular.
This amplifying step was found in an old American publication. The transistor is made of germanium and...
Found in ancient documentation, this circuit uses a high voltage transistor of the time. Observe...
The circuit shown in the figure is suggested by Intersil (www.intersil.com) and makes use of the...