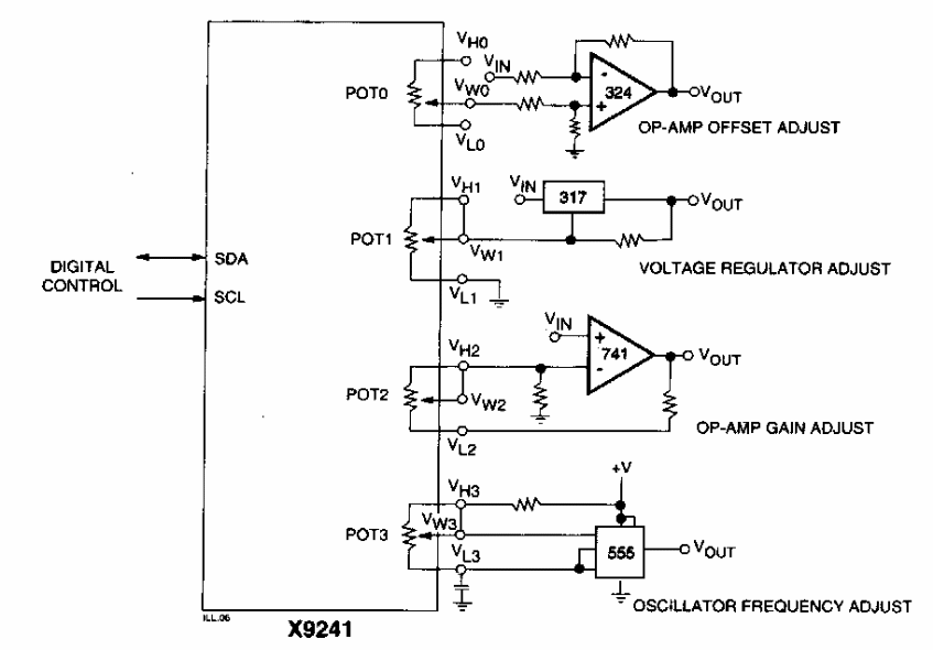
Found in an old Xicor documentation, this circuit makes use of an X9241, which contains four digitally controlled analog potentiometers.
Older cars and some modern models do not have an audible direction indicator. This simple circuit can...
This is an integrated recommended for portable amplifiers, recorders, and battery powered radios. It...
We found this circuit recent English documentation. The circuit uses a common transformer and can...