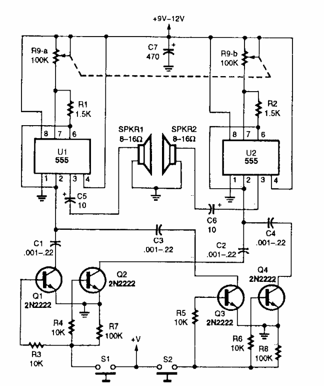
Found in Popular Electronics from the 90's, this circuit uses 555 integrated and common transistors to generate two tones determined by push buttons S1 and S2.
The purpose of this circuit is to increase the selectivity of receivers with ferrite antennas. The circuit...
This solid-state relay circuit (SSR) or shield is from a 1995 Electronics Now. With it we can...
We show a channel of a simple preamplifier for ceramic capsules. This circuit is based on a very...