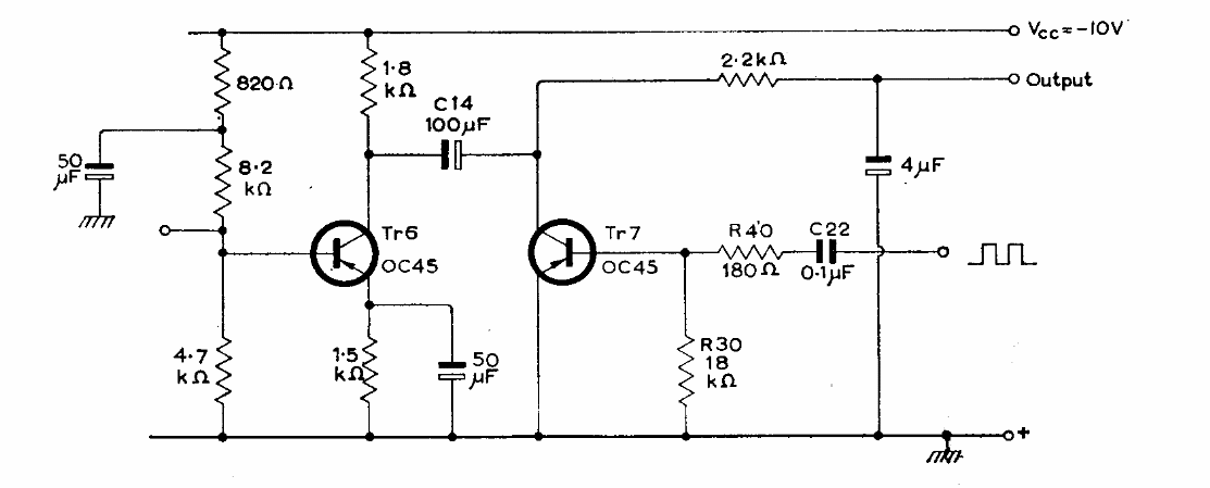
This circuit was found in Mullard's 1960s transistor manual. The circuit employs contemporary germanium transistors and operates at 1.65 kHz.
This circuit consists of a simple continuity test with two transistors forming a relaxation...
This circuit is a manual of 1972 RCA power transistors. The critical components of the project are...
Found in the 1974 Ferranti transistor manual, this Schmitt trigger circuit uses general-purpose transistors...