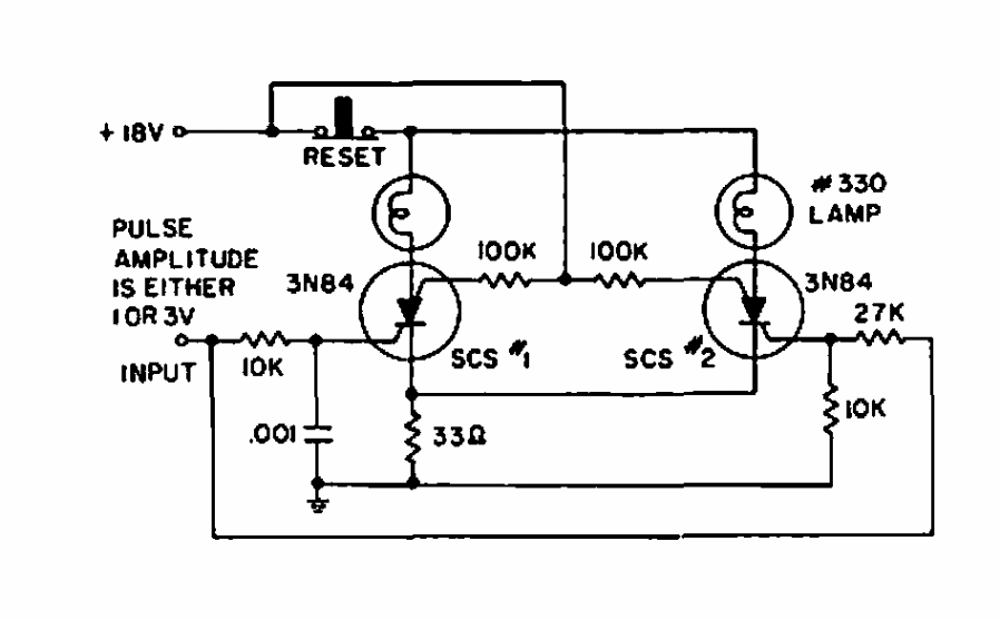
This circuit using programmable unijunction transistors was found in General Electric documentation from 1964. LEDs can be used instead of lamps.
This circuit, found in a 1991 documentation, doubles the frequency of a TTL signal. The maximum...
This configuration was found in an American publication from the 90s. Operators admit equivalents just...
Found in a 90s Popular Electronics, this circuit can power a miniature railroad with voltages of 15...