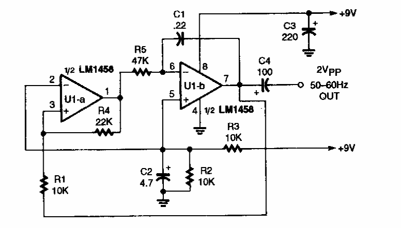
This circuit was found in an old Popular Electronics. The integrated circuit is equivalent to a double 741. The source does not have to be symmetrical.
In the figure we have the adapter circuit for connecting a headphone to the output of a stereo...
Found in the June 1972 issue of Radio Electronics magazine, this circuit generates signals that...
The output of this circuit must be connected to the input of an audio amplifier. The microphone is a small...