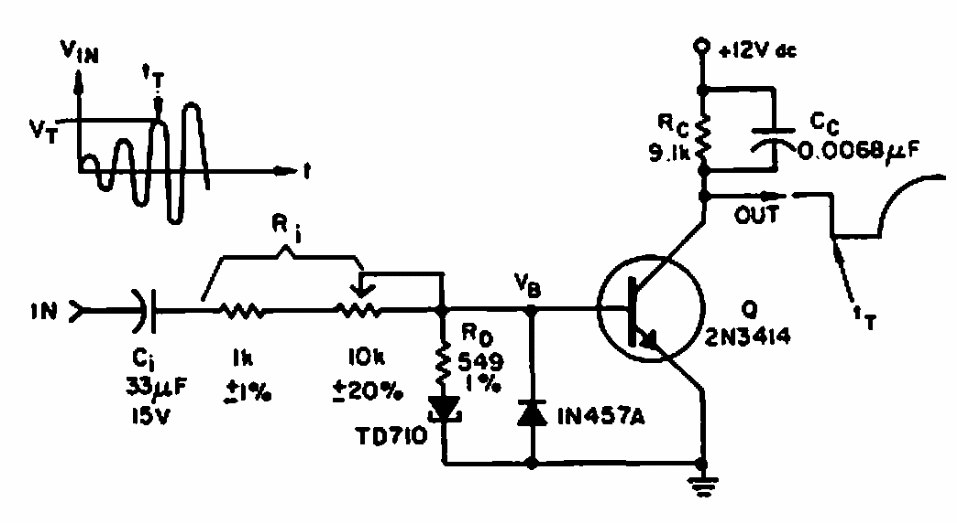
This circuit for a frequency of 10 kHz was found in an Electronic Design. It makes use of a tunnel diode. The transistor admits equivalent.
The gain of this amplifier is 10 times and the excursion to the output voltage is 6.0 V (peak to...
Found in American documentation from the 90s, this circuit uses a GASFET of the time. The circuit is...
This game aims to make you discover which is the combination of activated switches that make the...