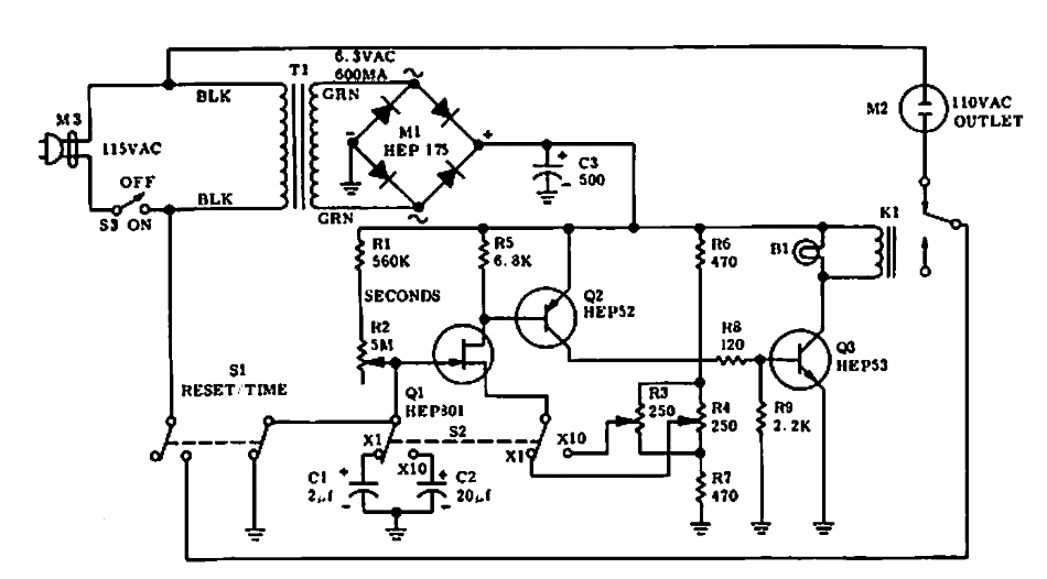
This circuit is from a 1966 Motorola Field Effect Transistors Manual. The circuit makes use of other components from the time. Modern equivalents can be tested.
This half-wave control is used for resistive loads of up to 200W with the TIC106. The diode can be...
The circuit shown uses an unusual regulator currently, which is the LM2935, which must be mounted on...
This circuit is powered by only 3 V and can flash white LEDs from 3.2 to 3.6 V, as it includes a voltage...