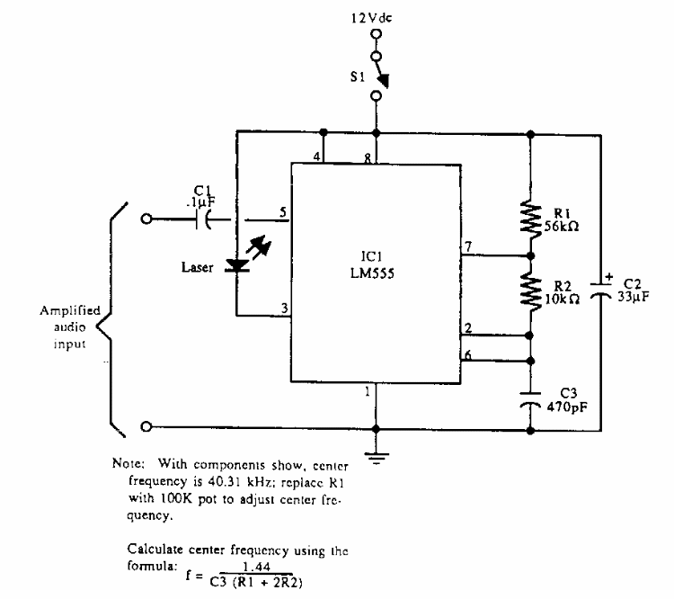
This modulator circuit was found in an American documentation from the 90's. The circuit uses a low power LASER diode. Power is supplied with 12 V.
This circuit generates sequenced pulses to control a stepper motor. The speed at which the pulses...
This circuit was originally designed to measure the gain of two-door RF MOSFETs as indicated by...
This regulated power supply can provide currents up to 1 A to a load. The transformer may actually have...