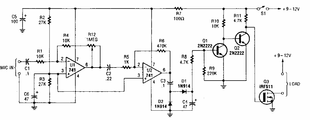
This sonic relay or vox was found in a Popular Electronics from the 90's. The power MOSFET can be of any type determining the controlled load.
We find this circuit in a 1976 NASA handbook. The circuit can be designed based on current logical...
In the circuit shown in the figure when we press S1, capacitor C1 charges slowly, and with that it...
This circuit is from a 1968 Motorola power circuit manual. The circuit uses transistors of the...