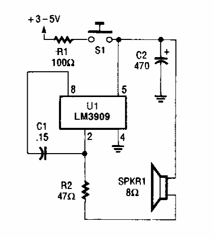
This circuit with the LM3909 can be powered with voltages from 3 to 5 V. We found it in a Popular Electronics from the 90s.

This circuit with the LM3909 can be powered with voltages from 3 to 5 V. We found it in a Popular Electronics from the 90s.