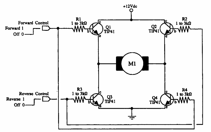
This circuit was taken from old American documentation. The transistors used make it possible to control a motor with up to 2 A of current. They must be equipped with heat sinks.
.
This configuration (using a logic gate with TTL compatible output) uses an amplifier transistor to obtain...
Placed near a common receiver, this oscillator is intended to generate a beating signal to receive...
Published in the September 1973 issue of Radio Electronics magazine, this diagram may be useful to...